Serias dudas medida rodamientos traseros Raptor 700

Viendo 6 entradas - de la 1 a la 6 (de un total de 6)
  • Autor
    Entradas
  • #87997
    Fran
    Participante

    Hola compañeros, vengo a contar una duda que es para tener en cuenta.
    Y espero encontrar una respuesta pronto.
    Compré un Raptor 700 que tenía los rodamientos traseros recién cambiados.
    Vi la factura y el eje trasero no tenía holgura.
    Para mi sorpresa, a los dos meses aprox. Comenzó a hacer ruido y al comprobar que tenía holgura el eje trasero me llevé las manos a la cabeza y al cabo de una semana los rodamientos dijeron vasta!
    Compré un kit de rodamientos y retenes de la marca All Balls, los cambié siguiendo un tutorial que encontré en esta página y todo fue perfecto.
    Para mi sorpresa, los rodamientos que tenía montado el quad, también eran de la marca All Balls.
    Al cabo de dos meses, otra vez comienza a hacer ruido… Compruebo el eje y de nuevo holgura.
    Con mucho cabreo, comienzo una búsqueda de rodamientos originales, ya que mi pensamiento es que la marca All Balls fabrica unos rodamientos de mala calidad y por eso el precio reducido en comparación a los originales (El triple o incluso más caros)
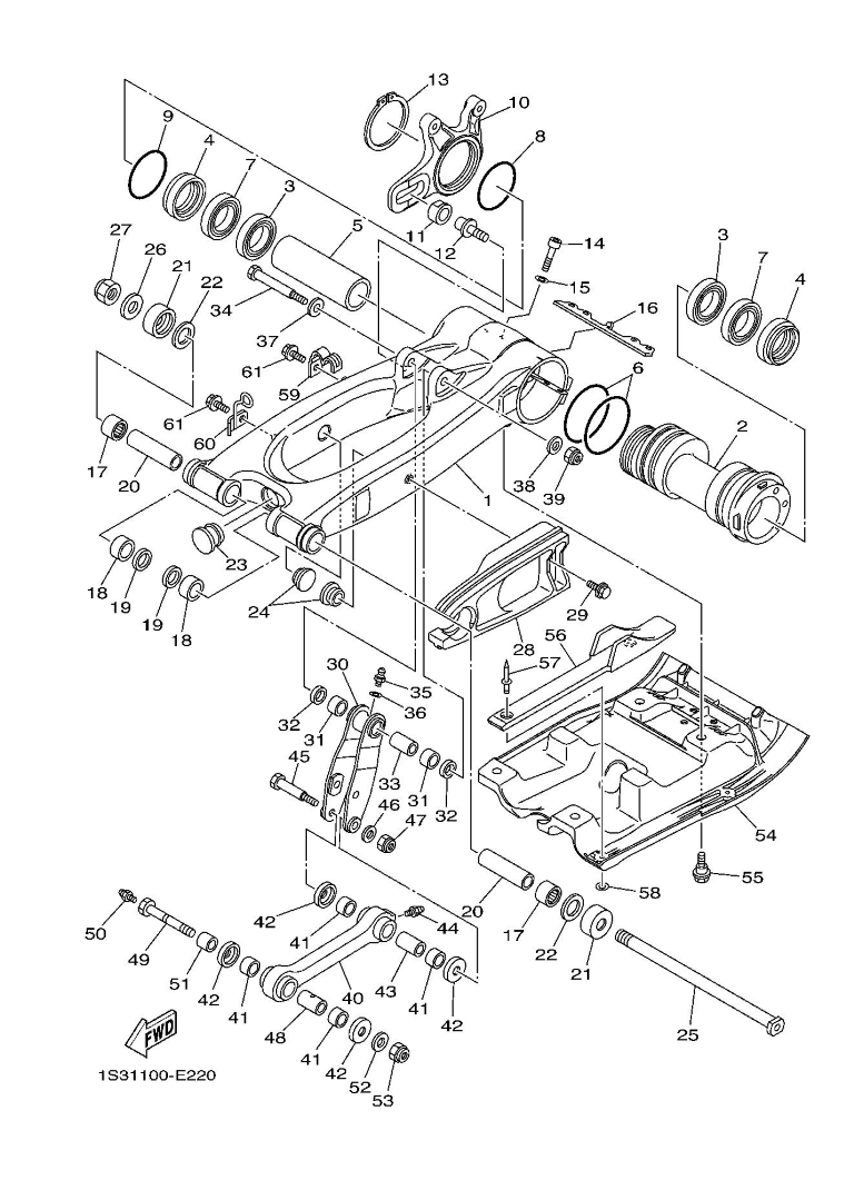
    Y según veo en el manual y en páginas made in USA donde venden piezas originales, de los cuatro rodamientos que lleva (Dos de cada lado) Los rodamientos internos son un número más pequeño que los dos externos.
    Lo raro de todo esto es que los rodamientos entraron a la perfección en su sitio y viendo unos videos tutoriales, se ve como ponen los rodamientos y no se ve ninguna diferencia en la matriz (Por así llamarle) Donde encajan los rodamientos.
    Dejo un video donde se ve y dejo la página de USA para que vean que son diferentes los rodamientos según el catálogo.

    Rodamiento Interior (x2): 93306-90804-00 (el de dentro, mas pequeño)
    Rodamiento Exterior (x2): 93306-90805-00
    Reten (x2): 93106-46003-00

    Donde está el error?
    All Balls vende la misma medida de rodamientos para los cuatro y por eso se rompen?
    O es que según el catálogo venden diferentes números de código pero no significa que sea diferente medida de rodamiento?
    Perdón por el ladrillo pero esto es algo con lo que se encontrará más de uno que tenga un Raptor 700 y cuando yo sepa la respuesta lo expondré para todos aquellos que tengan la misma duda.
    Saludos!

    Video:

    https://youtu.be/kC0ZOYH8bZU

    Despiece buje Raptor 700:

    Despiece buje Raptor 700

    #87998
    Fran
    Participante

    Perdón! Quedó el post en el apartado de presentaciones.
    Si el administrador lo puede mover por favor!
    Gracias y disculpas!.

    #88001
    Muten
    Participante

    Solo se me ocurre o que los cojinetes no son los que tienen que ir, o el eje este desequilibrado. Yo en este caso buscaria las medidas correctas que tienen que ir de rodamientos e iria a una casa de rodamientos y compraria unos NSK o unos SKF de alta eficacia y al poder ser blindados por los 2 lados. aun que despues pongas grasa y todo el rollo. pero creo que aguantaran mejor a la corrosion. Y luego le llevaria un cojinete nuevo y el eje a la rectificadora para que comprueben que el eje no esta desviado y el alojamiento del rodamiento tambien no este desgastado por dentro y de fuera. por 60€ te lo repasan. tambien decir El montaje inadecuado tambien hace que puedan romperse. o si falta alguna pieza un separador un casquillo. mirate que este todo lo que tiene que ir. Hay que ir con cuidado a la hora de entrar los rodamientos ya que depende como los entres los puedes dañar sin querer.

    #88003
    Pablokan
    Participante

    Mira la tuerca de ajuste que conviene revisar periodicamente.

    Tienes separadores en las ruedas ? Tu conduccion es agresiva incluidos saltos ?

    #88005
    canu
    Participante

    Hola, yo tuve un Raptor 700, 5 aňos y cambié unos cuantos.Siempre los coloqué originales,en el mercado no encontrarás cojinetes tipo industriales que puedas usar,los medidas son especiales.
    Tendrías de comprobar si el separador tipo tubo que va entre los cojinetes no se te alla gastado.
    Entonces la tuerca no trabaja bien y los rodamientos se deterioran mucho antes.

    #88026
    Fran
    Participante

    Buenas, y gracias a todos por las respuestas.
    Ya averigüe por que la diferencia de códigos entre unos rodamientos con otros, según me dijeron en un concesionario Yamaha, es debido a que los que van por fuera son sellados mientras que los que van por dentro no son sellados, pero no hay diferencia de tamaño entre ninguno de los cuatro que lleva.
    Así que por ese lado me quedo mas tranquilo.
    La medida es una medida especial, como bien comenta «canu» por lo que no se consiguen fácilmente.
    Veré de poner los originales y ver lo que duran.
    En cuanto a la idea de llevar a revisar/rectificar, sería una buena opción, solo que donde vivo solo quedó un tornero y tiene lista de espera para mucho.

    Los separadores traseros los tenía cuando compré el quad, pero después del primer cambio de rodamientos se los quité justamente para que no trabajen tanto los rodamientos, pero aún así, en dos meses me petaron.
    Mi conducción es dentro de todo suave, excepto por algún momento de muchos baches combinado con una pasada rápida y acelerando, pero normalmente suelo ser muy cuidadoso.
    El tema es que utilizo el quad a diario unas 4 horas de tierra y algo de asfalto, y no se si el Raptor es el mas indicado para esto.
    Utilicé un Suzuki LTZ 400 durante 5 años haciendo esta misma tarea y jamas me dio ningún problema…
    Pensé que con el Raptor iría igual o mejor… Pero creo que el Raptor que compré está demasiado manoseado.
    En fin.
    Ya me saqué la duda del por que la diferencia de código entre los rodamientos!

    Saludos y aprovecho para desearles a todos FELICES FIESTAS!!!

Viendo 6 entradas - de la 1 a la 6 (de un total de 6)
  • Debes estar registrado para responder a este debate.